În toate ramurile tehnicii măsurarea joacă un rol vital deoarece proiectarea, fabricarea și utilizarea oricărui produs nu poate fi considerată fără a se face referire la acest concept.
Measurement
În toate ramurile tehnicii măsurarea joacă un rol vital deoarece proiectarea, fabricarea și utilizarea oricărui produs nu poate fi considerată fără a se face referire la acest concept.
In all branches of engineering, measurement plays a vital role since the design, manufacture and use of any product cannot be considered without reference to this concept.
Măsurarea este un proces de comparare. Pentru a măsura mărimea, cantitatea, volumul, unghiul, greutatea etc. se compară mărimea acestei proprietăți cu mărimea unui dispozitiv de măsură.
The measurement is a comparing process. To measure size, quantity, volume, degree, weight etc you compare the size of that feature with the size of a measuring device.
În conformitate cu SI (Système International d’Unités – care în franceză înseamnă Sistemul Internațional de Unități) unitățile de măsură pot fi împărțite în două clase:
- unități fundamentale;
- unități derivate;
According to SI (Système International d’Unités – which in French means International System of Units) units can be divided in two classes :
- the base units;
- the derived units;
Unitățile fundamentale ale SI sunt:
| Cantitatea | Unitatea | Notare |
|---|---|---|
| Lungime | metru | m |
| Masa | kilogram | kg |
| Timp | secunda | s |
| Intensitatea curentului electric | amper | A |
| Temperatura | grad kelvin | K |
| Intensitatea luminoasă | candela | cd |
| Cantitate de substanța | mol | mol |
The base units of SI are:
| Quantity | Unit | Abbreviation |
|---|---|---|
| Length | meter | m |
| Mass | kilogram | kg |
| Time | second | s |
| Electric current | amperer | A |
| Temperature | kelvin | K |
| Luminous intensity | candela | cd |
| Amount of substance | mole | mol |
Aceste unități sunt definite prin formule fizice ca aceasta, folosită pentru a defini metrul:
These units are defined with physical formulas such as this one used to define the meter:
“Lungimea parcursă de raza laser in 1/299792458 secunde. Raza fiind obținută prin folosirea unui laser stabilizat iod heliu-neon.”
“The length of path travelled by laser light in 1/299792458 seconds. The light being realized through the use of iodine stabilized helium-neon laser. “
Aceste unități se pot combina spre a da unitățile de măsură derivate, precum următoarele:
These units can be combined to give the derived units, like the following:
| Cantitatea | Notație | Unitate | Notație unitate |
|---|---|---|---|
| Forță | F | newton | N |
| Presiune | p | pascal | Pa |
| Lucru mecanic | L | joule | J |
| Energie | E | joule | J |
| Putere | W | watt | W |
| Viteză | v | - | m/s |
| Accelerație | a | - | m/s2 |
| Frecvență | f | hertz | Hz |
| Quantity | Symbol | Unit | Unit symbol |
|---|---|---|---|
| Force | F | newton | N |
| Pressure | P | pascal | Pa |
| Work | W | joule | J |
| Energy | E | joule | J |
| Power | P | watt | W |
| Velocity | v | - | m/s |
| Acceleration | a | - | m/s2 |
| Frequency | f | hertz | Hz |
Chiar dacă SI este în general folosit, SUA și Marea Britanie folosesc încă un sistem de măsură care este diferit de cel folosit în restul lumii.
Although the SI is generally used, the USA and Great Britain still retain a measurement system that is different from the one used by the rest of the world.
Tabelul de conversie dintre sistemul US obișnuit și SI echivalent este dat mai jos.
| Cantitatea | US | SI |
|---|---|---|
| Lungime | picior | 0.3048 m |
| țol | 25.40 mm | |
| milă | 1.609 km | |
| yard | 91.44 cm | |
| Arie | țol pătrat | 645.2 mm2 |
| picior pătrat | 0.0929 m2 | |
| acru | 4046.856 m2 | |
| milă pătrată | 2590 km2 | |
| Masă | dram | 64.80 mg |
| uncie | 28.35 g | |
| livră | 0.45359243 kg | |
| tonă lungă | 1016.047 kg | |
| tonă scurtă | 907.18 kg | |
| Volum | galon | 0.0037854 m3 SUA 0.0045461 m3 MB |
| acru ori picior | 1233.485 m3 | |
| țol cubic | 16.387064 cm3 | |
| picior cubic | 0.028316846 m3 | |
| yard cubic | 0.7646 m3 | |
| Viteză | picior pe secundă | 0.3048 m/s |
| țol pe secundă | 0.0254 m/s | |
| galon pe picior pătrat într-un minut | 0.0407 m/min | |
| galon pe picior pătrat într-o zi | 58.678 m/zi | Putere | picior ori livră pe secundă | 1.356 W |
| cal putere (englezesc) | 745.7 W | Presiune | livră pe picior pătrat | 47.88 Pa |
| livră pe țol pătrat | 6.895 k Pa | |
| picior (apă) | 2.988 k Pa | Forță | livră | 4.448 N | Energie | picior ori livră | 1.356 J | Debit | picior cubic pe secundă | 0.0283 m/s | galon pe minut | 0.003785 m3/min | Concentrație | părți livră per milion la galon | 0.1200 mg/l |
The US customary to SI equivalent conversion table is done below:
| Cantitatea | US | SI |
|---|---|---|
| Length | ft (foot) | 0.3048 m |
| in (inch) | 25.40 mm | |
| mi (mile) | 1.609 km | |
| yd (yard) | 91.44 cm | |
| Area | in2 (square inch) | 645.2 mm2 |
| ft2 (square foot) | 0.0929 m2 | |
| acre | 4046.856 m2 | |
| mi2 (square mile) | 2590 km2 | |
| Mass | grain | 64.80 mg |
| oz | 28.35 g | |
| lb (libra, pound in weight) | 0.45359243 kg | |
| long ton | 1016.047 kg | |
| short ton | 907.18 kg | |
| Volume | gal (gallon) | 0.0037854 m3 USA 0.0045461 m3GB |
| acre·ft (acre-foot) | 1233.485 m3 | |
| in3 (cubic-inch) | 16.387064 cm3 | |
| ft3 (cubic-foot) | 0.028316846 m3 | |
| yd3 (cubic-yard) | 0.7646 m3 | |
| Velocity | ft/s | 0.3048 m/s |
| in/s | 0.0254 m/s | |
| gal/ft2 per min | 0.0407 m/min | |
| gal/ft2 per day | 58.678 m/zi | Power | ft·lb/s | 1.356 W |
| hp | 745.7 W | Pressure | lb/ft2 | 47.88 Pa |
| lb/ft2 | 6.895 k Pa | |
| ft (of water) | 2.988 k Pa | Force | lb | 4.448 N | Energy | ft·lb | 1.356 J | Flow | ft3/s | 0.0283 m/s | gal/min | 0.003785 m3/min | Concentration | lb/million gal | 0.1200 mg/l |
În practică este imposibil să se lucreze la mărimea exactă și să se măsoare la o mărime exactă. De aceea trebuie prevăzută o eroare dimensională. Pentru a controla această eroare, proiectantul prevede un domeniu de dimensiuni între care componentul va funcționa satisfăcător. Termenii asociați cu limite și ajustaje pot fi rezumați astfel:
In practice it is impossible to work and measure to an exact size. Therefore allowance has to be made for dimensional deviation. To control this deviation, the designer specifies a range of dimensions within which the component will work satisfactorily. The terms associated with limits and fits can be summarized as follows:
Mărimea nominală, care este dimensiunea după care se identifică pentru conveniență fiecare mărime.
Nominal size, which is the dimension by which a feature is identified for convenience.
Mărimea de bază, care este mărimea funcțională de bază de la care se consideră limitele prin folosirea permisiunii și toleranțelor necesare.
Basic size, which is the exact functional size from which the limits are derived by application of necessary allowance and tolerances.
Mărimea medie, care este mărimea care se situează la mijlocul distanței între limitele superioară și inferioară și care nu trebuie confundată nici cu mărimea nominală nici cu mărimea de bază.
Mean size, which is the size that lies halfway between the upper and lower limits of size and must not be mistaken either for the nominal size or the basic size.
Mărimea actuală, care este mărimea măsurată corect la 20C.
Actual size, which is the size correctly measured at 20C.
Limite, care sunt valorile maximă și minimă între care se poate situa mărimea proprietății componetului.
Limits, which are the high and low values of size between which the size of a component feature may lie.
Toleranța, care este diferența aritmetică între limitele mărimii
Tolerance, which is the arithmetic difference between the limits of size.
Eroarea, care este diferența între mărimea de bază și limite.
Deviation, which is the difference between the basic size and the limits.
Jocul minim (permisiunea), care este jocul dintre un ax și o gaură în condițiile dilatării maxime a metalului.
Minimum clearance (allowance), which is the clearance between a shaft and hole under maximum metal dilatation conditions.
1. Șurub pentru reglaj fin
2. Piulița manșonului
3. Manșon gradat
4. Tijă gradată
5. Piuliță de blocare
6. Potcoavă
7. Tijă tampon
8. Fețele tampoanelor
9. Tampon capăt
1. Ratchet
2. Thimble adjusting nut
3. Thimble
4. Barrel
5. Locknut
6. Steel frame
7. Spindle
8. Spindle and anvil faces
9. Anvil end
1. Clamă pentru reglaj fin
2. Șurub pentru reglaj fin
3. Scara vernierului
4. Falcă mobilă
5. Fețe pentru măsurat interior
6. Fețe pentru măsurat exterior
7. Falcă fixă
8. Șină
9. Scară
1. Fine adjustment clamp
2. Fine adjustment screw
3. Vernier scale
4. Sliding jaw
5. Inside measuring faces
6. Outside measuring faces
7. Fixed jaw
8. Beam
9. Scale
Prin măsurarea lungimii se înțelege măsurarea distanței în linie dreaptă între două puncte, linii sau fețe.
To measure length means to measure the shortest distance in a straight line between two points, lines or faces.
Principalele instrumente pentru măsurarea lungimii sunt următoarele:
- Riglele, riglele gradate, liniile;
- Compasuri de interior (exterior) [fig.3,b(a)];
- Șublere [fig.2];
- Micrometre [fig.1];
The main tools for length measuring are the follow:
- Rules;
- Inside (outside) calipers [fig.3,b(a)];
- Vernier calipers [fig.2];
- Micrometer calipers [fig.1];
Datorită acțiunii solicitărilor mecanice și coroziunii în timp, componentele își pierd forma inițială. De aceea este necesar să se proiecteze unelte pentru a verifica forma, unelte precum:
Due to the action of stress and time corrosion the components lose their initial shape. Therefore it is necessary to design tools for checking the shape, like the following:
- Muchii (pentru paralelism și planeitate);
- Șabloane (pentru formă);
- Calibre pentru rază [fig.4,a];
- Calibre de interstiții (spion)[fig.4,b];
- Calibre pentru filete (pentru măsurarea pasului)[fig.4,c];
- Comparatoare (pentru ovalitate, circularitate, paralelism etc.)[fig.3,d];
- Echer (pentru unghiuri drepte) [fig.3,c];
- Raportor (pentru alte unghiuri decât cele drepte);
- Edges (for parallelism and flatness);
- Templates (for shape);
- Radius gauges (for radius) [fig.4,a];
- Feeler gauges (for allowance) [fig.4,b];
- Screw pitch gauges (for checking the pitch) [fig.4,c];
- D.T.I. – Dial Test Indicators (for ovalty, circularity, parallelism etc.) [fig.3,d];
- Try square (for right angles) [fig.3,c];
- Bevel angle (for angles other than right angles);
1. Opritor ramă geam;
2. Cadran rotativ și geam;
3. Numărător de rotații;
4. Piesă de centrare;
5. Tijă;
6. Cap de schimb;
3. Revolution counter;
4. Spigot;
5. Plunger;
6. Removable anvil;
- Manometru;
- Termometru;
- Debitmetru (indicator de debit);
- Pressure gauge (manometer);
- Temperature gauge (thermometer);
- Flow gauge, (flow indicator);
Termometre staționare cu ecran:
- Ecran pătrat
- Ecran tubular
Termometre temporare:
- Termometre cu teacă
- Termometre cu lichid in tub de sticlă
Stationary thermometers with frame:
- Square frame type
- Tubular frame type
Temporary thermometers:
- Marine pocket thermometers
- Liquid-in-glass thermometers
Termometre electrice:
- Termometre cu termocuplu
- Termometre cu rezistență
Termometre cu tub Bourdon:
- Termometre cu mercur în tub de oțel
- Termometre cu presiune de vapori
Electric type thermometers:
- Thermoelectric thermometers
- Resistance thermometers
Bourdon tube type thermometers:
- Mercury-in-steel thermometers
- Vapour pressure thermometers
Termometre staționare cu ecran pătrat
Square frame type stationary thermometers
Termometre staționare cu ecran tubular
Tubular frame type stationary thermometers
Indicator de nivel din oțel forjat de tip cu reflexie cu robinete pentru căldări navale (fig. 5):
Forged steel reflex type water gauge with cocks for maritime boilers (fig .5):
1. Corpul robinetului superior
2. Corpul robinetului inferior
3. Corpul robinetului de golire
4. Ștuț superior
5. Ștuț inferior
6. Flanșă
7. Cepul robinetului
8. Manta
9. Piuliță înfundată
10. Pârghie de manevră
11. Opritor
12. Indicator
13. Piuliță hexagonală
14. Șplint (cui despicat)
15. Presetupă
16. Piuliță presetupei (olandeză)
17. Bilă de oțel
18. Șurub de rezemare pentru bilă
19. Dop
20. Prezon
21. Piuliță hexagonală
22. Racord pentru țeavă de cupru
23. Piuliță olandeză
24. Racord pentru țeavă de oțel
25. Bucșă de etanșare
26. Etanșare
27. Garnitură
28. Garnitură
29. Garnitură
30. Garnitură
31. Garnitură
32. Știft de fixare
33. Tablă indicatoare
34. Suportul tablei indicatoare
35. Piuliță hexagonală
36. Nit
37. Corpul indicatorului
38. Sticla indicatorului
1. Upper cock body
2. Lower cock body
3. Drain cock body
4. Upper gauge holder
5. Lower gauge holder
6. Flange
7. Cock plug
8. Bonnet
9. Cover nut
10. Lever handle
11. Stopper
12. Indicator
13. Hexagon nut
14. Splint pin
15. Packing gland
16. Gland nut
17. Steel ball
18. Steel ball seating plug
19. Plug
20. Stud
21. Hexagon nut
22. Nipple for copper pipe
23. Union nut
24. Nipple for steel pipe
25. Sleeve packing
26. Packing
27. Gasket
28. Gasket
29. Gasket
30. Gasket
31. Gasket
32. Set pin
33. Indicator plate
34. Support for indicator plate
35. Hexagon nut
36. Rivet
37. Water gauge body
38. Gauge glass
Indicator de nivel din oțel forjat de tip transparent cu valvule pentru căldări navale (fig .6):
Forged steel transparent type water gauge with valves for marine boilers (fig. 6):
1. Corpul valvulei superioare
2. Corpul valvulei inferioare
3. Corpul valvulei de golire
4. Manșon
5. Jug
6. Tija valvulei
6A. Tija valvulei
7. Ventilul valvulei
8. Piulița ventilului
9. Șaibă de blocare a ventilului
10. Șaiba tijei valvulei
11. Presetupă
12. Șurub articulat
13. Piuliță hexagonală
14. Știft
15. Bucșă filetată
15A.Bucșă filetată
16. Șurub de blocare
17. Pârghie de manevră
18. Piuliță hexagonală
19. Susținătorul mantalei
20. Prezon
21. Piuliță hexagonală
22. Flanșă
23. Inel de așezare a etanșării
24. Tablă indicatoare
25. Indicator
26. Plăcuță etichetă
27. Șplint (cui despicat)
28. Roată de manevră
29. Bilă de oțel
30. Scaunul superior al bilei de oțel
31. Scaunul inferior al bilei de oțel
32. Flanșă
33. Șurub cu filet infinit
34. Piuliță hexagonală
35. Flanșă
36. Flanșă
37. Șurub în cruce cu cap rotund
38. Racord
39. Piuliță olandeză
40. Piesă de suport
41. Șurubul de reglaj al piesei suport
42. Compensator de dilatație
43. Garnitură
44. Garnitură bobinată în spirală
45. Etanșare
46. Știft de fixare
47. Presetupă
48. Șaibă plată (lustruită rotundă )
49. Șaibă elastică
50. Corpul indicatorului
51. Sticla indicatorului
1. Upper valve body
2. Lower valve body
3. Drain valve body
4. Bonnet
5. Yoke
6. Valve stem
6A. Valve stem
7. Valve disc
8. Disc nut
9. Disc lock washer
10. Valve stem washer
11. Packing gland
12. Hinge bolt
13. Hexagon nut
14. Pin
15. Screwed bush
15A.Screwed bush
16. Lock screw
17. Lever handle
18. Hexagon nut
19. Bonnet keep
20. Stud
21. Hexagon nut
22. Flange
23. Packing seat ring
24. Indicator plate
25. Indicator
26. Name plate
27. Split pin
28. Handwheel
29. Steel ball
30. Upper steel ball seat
31. Lower steel ball seat
32. Flange
33. Continuous-thread stud
34. Hexagon nut
35. Flange
36. Flange
37. Cross recessed round head machine screw
38. Nipple
39. Union nut
40. Supporting piece
41. Supporting piece set screw
42. Expansion pipe
43. Gasket
44. Spiral-wound gasket
45. Packing
46. Set pin
47. Packing gland
48. Flat washer (polished and round)
49. Spring washer
50. Water gauge body
51. Gauge glass.
Indicator de nivel naval de 5 kgf/cm2 cu valvule (fig. 7)
Marine 5 kgf/cm2 level gauge with valve
(fig. 7)
1. Corp (ștuț) superior de tip A
2. Racord
3. Presetupă
4. Piulița presetupei (olandeză)
5. Piuliță olandeză
6. Garnitură
7. Garnitură
8. Garnitură
9. Cep
10. Îmbinare
11. Corp (ștuț) superior de tip B
12. Corp (ștuț) superior de tip C
13. Corp (ștuț) inferior
14. Tijă
15. Presetupă
16. Piulița presetupei (olandeză)
17. Inel
18. Mâner
19. Piuliță hexagonală
20. Șaibă arcuită
21. Șplint (cui despicat)
22. Etanșare
23. Armătură superioară de tip D
24. Sită metalică țesută
1. Type A upper body
2. Nipple
3. Packing gland
4. Gland nut
5. Union nut
6. Gasket
7. Gasket
8. Gasket
9. Plug
10. Joint
11. Type B upper body
12. Type C upper body
13. Lower body
14. Stem
15. Packing gland
16. Gland nut
17. Ring
18. Handle
19. Hexagon nut
20. Spring washer
21. Splint pin
22. Packing
23. Type D upper fitting
24. Wire gauze
Indicator de nivel naval cu plutitor (fig. 8):
Marine float level gauge (fig. 8):
1. Ghidajul plutitorului
2. Piesă de fixare a firului
3. Racord
4. Plutitor
5. Lagăr cu rostogolire
6. Suportul scripetelui
7. Ax
8. Greutate
9. Fir metalic împletit
10. Ghidajul greutății
11. Placa de scală
12. Indicator
13. Scripete
14. Șaibă plată
15. Etanșare de cauciuc
16. Bucșa firului
17. Flanșă
18. Piesă de etanșare
19. Piesă de fixare a greutății
20. Capacul ghidajului plutitorului
21. Șaibă plată
22. Șplint (cui despicat)
23. Garnitură
24. Șurub cu capul în cruce
25. Șurub cu capul în cruce
26. Șurub hexagonal
27. Piuliță hexagonală
28. Piuliță hexagonală
29. Suportul ghidajului greutății
30. Agățătoare pentru ridicat
31. Suport pentru lagăre
32. Postament pentru ghidajul plutitorului
33. Legătura firului
34. Adaos pentru cepul de aerisire
35. Cep
36. Garnitură
1. Float guide
2. Wire fitting piece for float
3. Nipple
4. Float
5. Ball bearing
6. Bearing for sheave
7. Pin
8. Weight
9. Wire rope
10. Weight guide
11. Scale plate
12. Indicator
13. Sheave
14. Plain washer
15. Seal rubber
16. Wire sleeve
17. Flange
18. Seal piece
19. Wire fitting piece for weight
20. Float guide cover
21. Plain washer
22. Split pin
23. Gasket
24. Cross pan head machine screw
25. Cross pan head machine screw
26. Hexagon bolt
27. Hexagon nut
28. Hexagon nut
29. Weight guide support
30. Lifting lug
31. Seat for bearing
32. Base for float guide
33. Bind wire
34. Boss for air vent plug
35. Plug
36. Gasket
Nava este un sistem care se autosusține. Întreaga energie electrică necesară este produsă, distribuită și folosită la bordul navei. De aceea măsurătorile electrice joacă un rol important în activitatea zilnică, în prevenirea avarilor și (cel mai rău) a black-out-ului.
A ship is a self-sustaining system. The entire electrical energy needed is produced, distributed and used on the board. Therefore the electrical measurements play a very important role in the daily activity, in preventing damages and (in the worst case) blackout.
Black-out-ul este situația când nava rămâne fără nici o sursă de energie. Această situație este critică deoarece toate sistemele pot cădea, nava este scăpată de sub control și se poate scufunda.
Black-out is the situation when the ship remains without any electrical power supply. It is a critical situation because all systems can breakdown, the ship is out of control and it may sink.
La bordul navei sunt utilizate două tipuri de aparate de măsură electrice:
On the board of the ship two types of electrical gauges are used:
Indicatoare de tablou care sunt montate pe tablourile de comandă sau de distribuție. Acestea pot măsura o singură mărime și ,de obicei, pe o singură scală.
- ampermetru de tablou;
- voltmetru de tablou;
- wattmetru de tablou;
- varmetru de tablou;
- frecvențmetru;
Panel gauges (indicators) which are placed on the control boards or switchboards. They can measure a single feature and usually a single range.
- panel ammeter;
- panel voltmeter;
- panel wattmeter;
- panel reactive energy meter;
- panel frequency meter;
Multimetre. Aceste tipuri de aparate de măsură sunt foarte utile pentru orice reparator care lucrează la echipament electric, datorită multiplelor scale de măsurare și manipulării simple. Multimetrele portabile pot măsura de obicei:
- tensiuni CC și CA;
- curenți CC și CA;
- rezistențe;
adesea aceste pot măsura și:
- capacități;
- frecvențe;
Portable multimeters. These types of gauges are very useful tools for each serviceman working at electric equipment, due to their many measuring ranges and simple operation. The portable multimeters can usually measure :
- DC and AC voltages;
- DC and AC currents;
- resistances;
and often these can measure:
- capacities;
- frequencies;
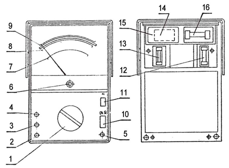
Un multimetru obișnuit este arătat mai jos:
A common type of portable multimeter is shown below:
unde sunt indicate câteva componente importante ale aparatului:
1 Comutatorul scărilor;
2, 3, 4, 5 Borne;
6 Corectorul de zero;
7 Scara rezistențelor;
8, 9 Scările tensiunilor și curenților CC și CA;
10 Corectorul de zero al ohmmetrului;
11 Comutator CC/CA;
12, 13 Siguranțe 3,15A/250V;
14 Baterie tip B 6 F 22 (9 V);
15 Baterie tip R6 AA (1,5 V);
16 Siguranță 10A/500 V;
where several important components of the meter are indicated:
1 Range Switch;
2, 3, 4, 5 Jacks;
6 Mechanical Zero Adjustment Control
7 Resistance Scale;
8, 9 DC/AC Voltage and Current Scales;
10 Ohmmeter Zero Adjustment Control;
11 DC/AC Switch;
12, 13 Fuses 3,15A/250V;
14 Type 6 F 22 Battery (9 V);
15 Type R6 AA Battery Cell (1,5 V);
16 Fuse 10A/500 V